Zum Hauptinhalt springen Zur Suche springen Zum Menü springen

22-BER-E1 - Ersatzteile für Baureihe BER Pumpe - TSURUMI Ersatzteile

 

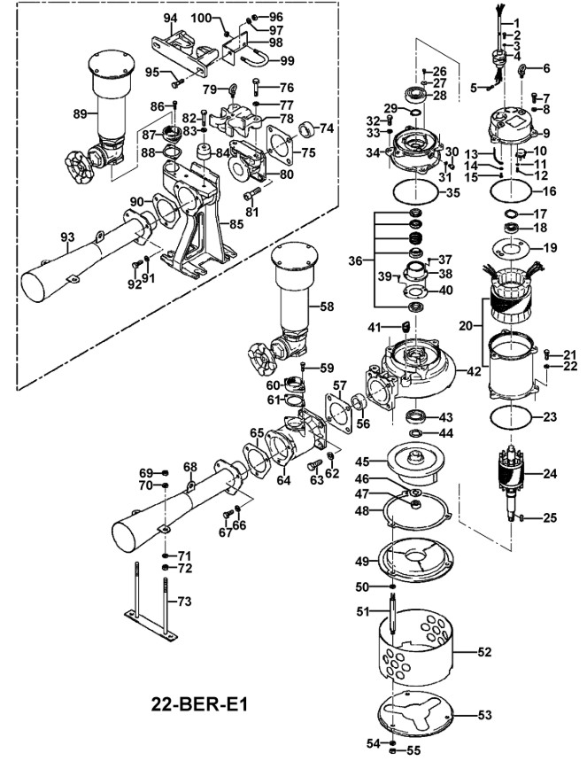
>>>EXPLOSIONSZEICHNUNG<<<

 

 

Preis wie konfiguriert
Versandkosten (TSU): 25.00
Ersatzteilliste für 22-BER-E1 TSURUMI Ersatzteile
Bitte wählen Sie maximal 99.
Ihre Konfiguration
Artikel/Gruppe Preis

inkl. 19% USt. , zzgl. Versand